Vorschlaghammer mit konvexer Schlagfläche. Speziell wärmebehandelter Schlagkopf mit nachgiebiger Schlagfläche und hartem Kern. Nachgiebige Schlagfläche vermeidet Brüche oder Absplitterungen: der harte Kern sichert die Verbindung von Kopf und Griff.
Unzerbrechlicher Gummigriff verstärkt durch einen Hartstahlkern.
ANSI/HTI B173-1991, ASTM A576 (Kopf), ASTM A421 (Griff).
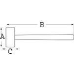
Grösse Details
| A |
B |
C |
 |
| 167mm |
788mm |
59mm |
3600g |